 |
Ю.П.Саламатов
Задачи, приведенные в данном разделе можно использовать для проверки навыков владения инструментарием ТРИЗ-РТВ. В основном, задачи рассчитаны для тех, кто уже достаточно изучил базовые инструменты и понятия теории. Тематика задач касается различных областей науки и техники, поэтому может быть интересна широкому кругу специалистов.
1. Защита электрода от окисления.
2. Как очистить яйца от грязи?
3. Утилизация автошин.
4. Борьба с визгом вагонных колес.
5. Как паять трубы?
6. Извлечение стружки из отверстия.
7. Что растению приятно?
8. Да чихал я…
9. Спасите нас!
10. Сортировка яиц.
11. Из фонда достойных целей: письмо в ХХХ век и дальше.
12. Брызги пластмассового дождя.
13. Как обеспечить невозможность использования испорченного лекарства.
14. Безопасные игрушки.
15. Что делать с трубой?!
16. Тренировочные мяч и шайба.
17. Электронно-лучевая сварка.
18. Сколько весит космонавт?
19. Исследование параметров курицы.
20. На миллион дырок один литейный стержень.
21. Сколько в мире муравьев?
22. Как обезвредить ... телевизор?
23. Используйте ресурс – движение.
24. Заповеднику требуется скорая помощь.
25. Против алмазных воров.
26. Тушение горящих жидкостей.
27. Чтобы чеснок не слеживался.
28. Быстрая сортировка алмазов.
29. Как добыть красное дерево?
30. Испытание пьезокристаллов.
31. Способ контроля качества сварных соединений.
32. Способ определения вязкости.
33. Взятие микропробы материала.
1. Защита электрода от окисления. При электролизе раствора хлорида натрия (поваренной соли) получают хлор и щелочь. Однако хлор обычно бывает загрязнен примесью углекислого газа (CO2), т.к. угольные электроды (аноды) частично окисляются выделяющимся попутно кислородом. Как избежать примеси CO2 в хлоре? Угольные электроды дешевы и устойчивы в атмосфере хлора. Применение платиновых электродов полностью решает проблему, но слишком дорого. Как сделать угольный электрод более устойчивым по отношению к выделяющемуся вместе с хлором кислороду?
2. Как очистить яйца от грязи? При проектировании технологического процесса очистки поверхности куриных яиц перед их упаковкой и закладкой на длительное хранение столкнулись с множеством проблем. Процесс получался многостадийным: замачивание, мойка в растворе поверхностно-активных веществ, ополаскивание, сушка, стерилизация светом ультрафиолетовых ламп. Образующиеся сточные воды также требовали операций по их обезвреживанию и по извлечению из них "грязи", являющейся хорошим удобрением: сточные воды направлялись в отстойник, из которого осадок попадал на фильтр-пресс для уплотнения и затем на сушку и упаковку, а сточные воды после отстойника направлялись на флотатор, пена с которого сжигалась. Стало понятно, что "мокрый" процесс мойки не годится. Как быть?
3. Утилизация автошин. Существует много способов утилизации автомобильных шин. Но в любом способе есть операция извлечения металлической арматуры из резины. Резина очень прочно скреплена с арматурой. То, что было полезно во время работы шины, обратилось во вред при ее утилизации. Как разрушить этот вредный веполь?
4. Борьба с визгом вагонных колес. Каких только способов борьбы со скрипом, грохотом и визгом вагонных колес не предлагали – смазывать рельсы, поливать их водой, ставить под рельсы прокладки. Хорошего результата до сих пор нет. Что такое визг вагонного колеса, например, на повороте? Частичное торможение колеса и изменение его положения относительно рельса связано с тем, что площадка контакта колесо-рельс движется, меняет свои размеры и в этой паре трения меняется коэффициент трения. Из-за этого на колесо воздействуют переменные механические нагрузки, частота которых может совпасть с частотой собственных колебаний колеса. Тогда наступает резонанс и колесо превращается в излучатель громкого звука. Существует две возможности исключения резонанса: рассогласование ритмики работы колеса и рельса (не допускать или поглощать колебания) или применить антирезонанс – колебание присоединенного тела в противофазе. Что бы вы предложили?
5. Как паять трубы? Самый надежный и долговечный способ соединения труб отопления жилых домов – пайка стыка типа раструб-труба. В зазор помещается пастобразный припой, который расплавляется (при 2000С) газовой горелкой. Расплав равномерно заполняет зазор и при остывании герметизирует его. Все было хорошо пока паяли трубы диаметром 20 мм с кольцевым зазором 0,4-0,6 мм. При таком зазоре капиллярные силы удерживали расплав от вытекания из зазора. При пайке труб диаметром 40-50 мм с зазором 1,2-1,8 мм придумали вставлять в зазор кольцо из тонкой стали диаметром равным среднему диаметру зазора и шириной 5-10 мм. Действие капиллярных сил сохранилось. Но монтаж усложнился, появились новые операции – нанесение первого слоя пасты в 1 мм и надевание кольца, затем нанесение второго слоя. Это требовалось делать точно и аккуратно, т.е. производительность снизилась, а квалификация рабочего требовалась высокая.
При пайке труб диаметром 100-120 мм проблема еще больше усложнилась. Зазор увеличился до 3,2-4,5 мм. Для разделение зазора на капиллярные щели потребовалась специальная кольцевая конструкция из двух колец вставленных друг в друга с зазором 1 мм. Технологи попали в тупиковую ситуацию. Как быть?
6. Извлечение стружки из отверстия. В детали изготавливают глубокое отверстие и затем в нем нарезают резьбу. Часть стружки при этом падает на дно отверстия. Иногда ее пытаются доставать, выдувая струей сжатого воздуха, но стружка иногда может застревать и не выдуваться, а если она вылетает слишком быстро, то может поранить станочника. Деталь может быть очень тяжелой и изменять ее положение нельзя. Как быть? Дана изобретательская ситуация: можно решать несколько задач. Среди них: 1. Как улучшить извлечение стружки из отверстия при помощи воздуха? 2. Как вообще извлекать стружку из отверстий? 3. Как не допустить попадания стружки в отверстия? Задача 1 наиболее узкая. Задачу 2 хорошо бы решить, так как ее решение применимо к проблеме извленчения стружки не только из отверстий после нарезания резьбы, но и к проблеме вообще очистки полостей. Решение задачи 3 предпочтительно, так как убирается причина, приводящая к возникновению задачи.
7. Что растению приятно? Нелегко определить,какую освещенность предпочитают те или иные растения. Нужны длительные опыты: высадить растения, освещать их по-разному, ждать какие лучше будут расти. А если требуется еще узнать, какая освещенность "приятна" растению в разном возрасте, в разное время суток? Как же быть? ИКР: растение само показывает, где ему лучше. Как это осуществить?
Технологический эффект – где использовать? Интересный композиционный материал представляет сочетание легкоплавкого вещества (например, сплава Вуда) с волокнами тугоплавкого материала (например, стали). Такой материал легко плавится, а застыв, обладает высокой прочностью. Постепенно происходит взаимная диффузия частиц припоя и волокон, в результате чего образуется сплав с высокой температурой плавления.
8. Да чихал я… В серии медицинских экспериментов по изучению процессов распространения эпидемий срочно потребовалось определить количество капель разбрызгивающихся... при чихании - у разных людей, в разные стадии болезни. Просмотрев мировую литературу ученые убедились, что разброс данных у разных авторов слишком велик: назывались цифры от 100 капеллек (у маленьких детей) до 20 000 и более (при сильном чихании у взрослых). Достоверность этих данных была под сомнением, т.к. методика подсчета нигде не описывалась. Предстояло самим придумать методику и воплотить идею в простой прибор... Как быть? Что бы вы им предложили? Недостатка в добровольцах - «чихателях» не было (эпидемия гриппа была в самом разгаре). Их можно было бы пригласить в лабораторию. Ну а дальше? Как быстро подсчитать количество капель в каждом «чихе»?
9. Спасите нас! Нужен простой способ сигнализации при засыпке человека снежной лавиной. Способ не должен требовать источника энергии. Допустим что-то “всплывает” над поверхностью снега, указывает местоположение потерпевшего. Наиболее вероятным может оказаться использование электромагнитного поля, но и в этом случае желательно, чтобы “радиомаяк” работал не от батарейки, а, например, от тепла человеческого тела, от рассеянной энергии окружающей среды, на энергии тех же радиоволн, пронизывающих все уголки планеты, или радиоволн специально посылаемых в поисках потерпевших. Проблема спасения оказавшихся под снегом взята лишь в качестве примера. Неизмеримо больше людей попадает в землетрясения, пожары, обвалы, транспортные катастрофы и пр. - люди оказываются засыпанными обломками, замурованными, затерявшимися в лесах, горах, пустынях, под водой; часто в бессознательном и беспомощном состоянии. Как быстро обнаружить их и прийти им на помощь? Нужна компактная не требующая ухода техническая система аварийной сигнализации - она должна включаться по желанию человека, или “почувствовав” его беспомощное состояние, или по команде спасателей. Где носить ее? не будет ли она обременительна? Ясно, что она должна быть миниатюрна, сравнима с обычными украшениями или, даже, совместима с ними (медальоны, крестики, сережки, браслеты, очки, перстни,...). Привыкло же человечество носить часы - прибор намного менее важный, чем аварийный маяк. Кое-что уже делается: - в США разработана система “Радиофор - спасатель” - это пластинка отражающая радиоволны, крепится на ботинок альпиниста; радиолуч с вертолета “ощупывает” за 1 мин - 1 га площади; - английская фирма создала “радиопилюли” для медицинских исследований внутренностей, их использовали даже для анализа процессов в стиральной машине (для ее усовершенствования); - сообщается даже, что в Институте волоконно-оптических систем (Москва) создали квантовый магнито-оптический прибор, позволяющий обнаружить и определить жив или мертв человек под обломками здания или в шахте на глубине до 3-х км; единственное условие - на одежде должна быть магнитная метка; - к сожалению собаки теряют свою чувствительность при низких температурах и при сильных посторонних запахах, поэтому разрабатываются электронные сверх-чувствительные приборы - “нюхатели”... Ваше предложение?
10. Сортировка яиц На птицефабрике поставили установку по сортировке яиц. Вот как она работает: яйца движутся на конвейере (предварительно их выстраивают в один “пунктирный” ряд), “проплывают” между источником света и экраном. По тени на экране определяется размер, а значит и сортность яиц. Экран сделан в виде электронного видеодатчика - он состоит из множества светочувствительных элементов (точек). Чем больше тень, тем больше точек загорожено от света. Сигнал лт экрана поступает в микропроцессор и тот высчитывает объем яйца. Яйца нужно разделить на пять категорий:
| Категории |
Объем, см3 |
Масса, г |
| 1 |
более 59,33 |
более 64 |
| 2 |
52,67-59,33 |
57-64 |
| 3 |
46,02-52,67 |
50-57 |
| 4 |
38,41-46,02 |
42-50 |
| 5 |
менее 38,41 |
менее 42 |
Опытная установка получилась капризной, давала ошибки (особенно - при загрязнении экрана), видеодатчик требовал постоянного ухода. Поэтому-то фабрика и объявила конкурс: как упростить систему, сделать ее надежной? Если вы помните, однажды Эдисон “проучил” математика Эптона - за несколько секунд определил объем лампы без сложных расчетов...
11. Из фонда достойных целей: письмо в ХХХ век и дальше Перед нами стоит реальная угроза превратиться в "затерянную цивилизацию". Все наши восторги достижениями ХХ-XXI веков, наши мысли, идеи, переживания, наши ошибки, радости и слезы – все это может кануть в вечность и станет неизвестно будущему человечеству. По простой причине – нет средств и способов записи информации рассчитанных на длительное хранение – скажем, на тысячу, десять тысяч лет… Все чудеса "компьютерного века", все современные средства записи и хранения информации могут очень скоро оказаться похороненными в архивах – "технологических пещерах" – и станут столь же недоступными для будущих поколений, как для нас многие документы прошлого. Вот признание одного из архивариусов: "Современная технология со всеми ее чудесами превратилась в кошмар для тех, в чьи обязанности входит хранение информации. Прогресс превращает архивы в настоящие музеи записывающего оборудования. Но оборудование меняется, и мы вынуждены переписывать информацию с одних носителей на другие, либо идти на риск безвозвратно ее потерять." Звукозаписи, пластинки, диски, микрофильмы и видеопленки живут недолго. Но проблема даже не в этом (ведь, например, лазерные компакт-диски или голограммы на стеклообразных полупроводниках можно считать почти вечными), а в том, что для воспроизведения информации, хранимой с помощью технических средств, необходимы опять-таки те или иные технические средства. Без воспроизводящей аппаратуры записи хранить бессмысленно. Но и любая аппаратура рассыплется за это время. Да и сама эта аппаратура лишь конечное звено современной технологии (которая, конечно же, со временем исчезнет) – кто будет помнить все эти лазеры, голограммы и компьютеры через десять тысячелетий?! Возможно, и электроэнергии не будет, не консервировать же для потомков электростанции… Поневоле приходишь к ироничному заключению: а не вернуться ли к "доброму старому" способу записи информации… на бумаге? С помощью этого способа мы успешно "общаемся" с давно исчезнувшими цивилизациями.. Но возврат к старому в истории человечества всегда происходил лишь на диалектически новом уровне – в той же точке, но расположенной на новом, более высоком, витке спирали развития. Ведь у "бумажной информации" масса недостатков: слишком мала плотность записи, легко поддается разрушению (грызунами, огнем, плесенью и т.д.), не дает возможности записать звук, изображение, запахи, эмоции, нервные импульсы, биоритмы и т.д. Любой аспект этой проблемы содержит сильнейшее противоречие. Возьмем, например, плотность записи. Современный рекорд: роман Л.Толстого "Война и мир" может быть записан на одном квадратном сантиметре. Но как легко потерять или разрушить этот сантиметр! И потомки лишаться выдающегося для нас литературного произведения. А способ восприятия? Сделать абсолютно неразрушаемую машину для воспроизведения романа с этого квадратного сантиметра? Или придать человеку свойство, способность самому воспроизводить микрозапись? Или производить запись в нормальном масштабе, но тогда где хранить биллионы томов? Не превратить ли нам часть планеты в библиотеку, или использовать для этой цели Луну?… У проблемы есть и очень серьезный современный аспект, требующий немедленного решения: потомки должны располагать абсолютно достоверной информацией о местах захоронения радиоактивных отходов. Некоторые из этих отходов и через десять тысяч лет не потеряют своей активности. Единственное пока решение, к которому пришла комиссия министерства энергетики США, состоит в том, что над поверхностью таких участков будут сооружены земляные насыпи, а на них установлены гранитные колонны с прикрепленными к ним каменными плитами. На плитах будут изображены знаки-символы и картинки о содержании захоронения. Под насыпью в специальных подземных сооружениях будет заложена дополнительная информация. Решение явно заимствовано из археологии – вспомните курганы древних захоронений, пирамиды. Но опять все упирается в способ записи информации – требуется надежный, компактный способ записи, не требующий воспроизводящей аппаратуры. К тому же авторы проекта решили отказаться от английского и любого другого современного языка, т.к. вряд ли они будут понятны жителям Земли… Ясно, что любая ТС – плохо. Между информацией и глазом не должно быть никаких ТС. ТС-воспроизведение должно свернуться (поглотиться): в глаз человека, в носитель информации. Первый путь потребует генетической переделки всего человечества. Второй: "бумага" на новом уровне развития – запись плотнее обычной в 109 раз, а читается как обычный текст! С другой стороны, оптика – как усилитель глаза – известна давно и скорее всего останется в будущем (станет еще совершеннее). Поэтому, если текст будет записан с огромной плотностью, то прочитать его не трудно (уже есть: тонкая алюминиевая пластинка, покрытая окисью меди, 25х25 мм, запись лучом лазера через кристалл, который при подаче эл сигнала генерирует тот или иной знак – все творчество Конан Дойля! В стопке толщиной 2 см – вся русская литература ХIХ века.
12. Брызги пластмассового дождя Для покрытия различных поверхностей защитным полимерным слоем используют установку для распыления расплавленной пластмассы. Расплав подают в сильную струю горячего воздуха, закрученный поток которого подхватывает полимерный состав, разбивает его на мелкие капельки и с помощью сопла направляется на покрываемый участок поверхности. - Здорово работает! - сказали ребята из кружка юных изобретателей, когда технолог выключил установку и вытащил горячую еще деталь с готовым покрытием. - Когда-то это и нас радовало. А теперь - нет! - технолог взял штангенциркуль, измерил толщину покрытия и показал ребятам, - Видите, два миллиметра, а кое-где и все три... Это очень много, надо 0,5, а еще лучше 0,1-0,3 мм. Из-за больших размеров капель большой перерасход пластмассы получается. Подумайте, что тут можно сделать. - А почему нельзя получить мелкие капли? - По очень простой причине. Пластмасса очень вязкая, густая как мед. Пробовали увеличить скорость воздушной струи, поднимали температуру расплава, подогревали покрываемые детали, еще больше закручивали поток - все бесполезно. - Можно ли вносить добавки в полимер? - Добавлять в расплав можно что угодно, лишь бы это не портило две главные характеристики покрытия: адгезионность (прилипаемость к поверхности детали) и его сплошность, т.е. не должно быть отслаиваний, вздутий, непокрытых участков. Это направление мы также пробовали, и тоже бесполезно - добавляли растворители, разжижители... Чем больше растворителя, тем жиже расплав, но тем больше вздутий и разрывов в покрытии из-за испарения растворителя... - ...а чем его меньше (или вообще без растворителя) - тем лучше покрытие, но тем оно толще, - подхватили ребята, - это же типичное противоречие! Вот теперь нам задача ясна - будем разрешать это ТП.
13. Как обеспечить невозможность использования испорченного лекарства. Для того, чтобы маленькие дети не трогали лекарств и другие ядовитые бытовые препараты, предложено наклеивать на них картинку: печальное личико со слезами на глазах. Возможно, она и остановит детей от шалости. Но проблема шире - надо также предупреждать и взрослых о том, например, что срок годности лекарства истек и им нельзя пользоваться (а также консервированных продуктов и т.д.). Как обеспечить невозможность использования испорченного лекарства? При этом надо учесть все возможные варианты: срок годности может быть от нескольких дней до нескольких лет, лекарства могут портиться от света, тепла, холода и т.п.
14. Безопасные игрушки. Нередко случается, что малыш, забавляясь какой-нибудь игрушкой, пробует ее на вкус и вдруг незаметно для себя проглатывает. Если игрушка сделана из пластмассы, то обнаружить где она - в пищеводе или желудке ребенка - с помощью, скажем, рентгеновских лучей невозможно. Хирургам приходится действовать наугад, а между тем каждая потерянная минута может стоить жизни маленькому пациенту. Это типичное административное противоречие, из которого может вытекать несколько изобретательских задач: как обеспечить врачам определение местоположения игрушки?, как вообще предотвратить их попадание внутрь?, как избежать операции - сделать так, чтобы игрушка... исчезала внутри; и т.д. Выберите одну из задач и, ориентируясь на идеальность, предложите свое решение.
15. Что делать с трубой?! Как убрать старинную кирпичную трубу постройки 1915 г.? Диаметр внизу 6 м, вверху 3 м, высотой 43 м, толщина стенки 0,4 м, общая масса 75 т. Рядом – цех, постройки. Разобрать – в трещинах, кирпичи сыпятся, альпинистский клуб "Вибрам" отказался. Взорвать – эвакуировать людей, технику, нет гарантии сохранности соседних зданий. Авиаотряд на вертолетах – отпиливать по кусочку...

А.с. СССР 1 347 952 Мяч Ф.К.Агашина: полость делится перегородкой на две половины. В каждой емкости расположены пневмокамеры. На перегородке в центре мяча – груз-вибратор (эл. двигатель с эксцентриком) и источник питания. Регулировка напряжения – по программе или по кабелю. Заданная частота колебаний – траектория полета. А вы что придумаете?
17. Электронно-лучевая сварка металлов – это сварка путем расплавления стыка свариваемых деталей острофокусным потоком ускоренных электронов, эмитированных катодом. При торможении ускоренных электронов вблизи поверхности металла их кинетическая энергия превращается в тепловую. Преимущества: достигается большая мощность (можно сваривать тугоплавкие металлы), проще и дешевле в 10 раз лазерной сварки, КПД преобразования энергии в 10 раз выше лазерной. Но все преимущества достижимы только при диаметре пятна менее 1 мм. Фокусирующая система при любой стабилизации тока и температуры обмотки не дает постоянства, требуется корректировка фокусировки луча. Способ корректировки – визуальный, но при большой мощности затруднительно из-за большой контрастности. Потребовалась сварка массивных деталей из разнородных металлов (сталь, титан), которая была возможна только при пятне диаметром 0,5 мм. Здесь визуальный контроль полностью исключается. Использующиеся некоторыми компаниями сложные оптико-электронные системы ненадежны из-за дыма и искр в зоне сварки. Нужно что-то более идеальное. Ваше предложение?
18. Сколько весит космонавт? При коротких полетах в космос никто не обращал внимания на изменение веса у космонавта. Но после нескольких недель пребывания в космосе изменение веса становится заметным. Большинство худело (стресс), но изредка кто-то из космонавтов прибавлял в весе. При подготовке к длительным полетам высказывалось предположение, что после периода приспособления (потеря воды и солей, потеря массы мышц) наступит период равновесного состояния с окружающей средой и может начаться процесс увеличения веса. Тогда надо будет бороться с набором веса. Перед инженерами поставили задачу: как измерять вес космонавтов? В состоянии невесомости человек ничего не весит... Как быть?
19. Исследование параметров курицы. Для проектирования автоматических кормушек на фабриках для производства куринного мяса требуется знать ответы на вопросы: - как далеко может вытянуть шею курица? - с какой силой ударяет клювом, подбирая корм? - сколько зернышек поедает за день? и множество других вопросов. В некоторой исследовательской лаборатории сделали следующее изобретение. А.с. СССР 1340693: Устройство для исследования параметров живой птицы, состоящее из клетки с отверстием, в которое пртица просовывает голову, кормушки из нескольких ячеек (ближе-дальше от отверстия) с эластичным дном. Под дном протягивают индикаторную ленту (бумажная лента, покрытая копировальной бумагой). Чем сильнее ударит курица, тем больше пятно на бумаге. По числу и силе ударов на разных расстояниях от края кормушки получают параметры процесса кормления во времени. Недостатки очевидны каждому. Надо усовершенствовать процесс измерения.
20. На миллион дырок один литейный стержень. В слитках металла часто нужно предусмотреть отверстие. Для образования отверстия необходимо перед заливкой вставить в форму стержень на место будущей дырки. Все металлы при остывании уменьшаются в объеме и обжимают стержень – его невозможно вытащить. Поэтому делают разрушаемые стержни, например, из песка смешанного с клеем. Требуются миллионы стрежней, создается специальное производство – просеивание и сушка песка, замешивание с клеем, формование стержней, сушка. Нужна идея стержня многоразового использования. Ваше предложение? В Дании изобрели стержень в виде замороженной смеси песка и воды (или сухой углекислоты). Такой стержень держит при заливке несколько мгновений форму и, будто бы, этого достаточно для образования отверстия. Но производство стержней усложнилось – потребовались замораживающие установки. Пат США 3945429: стрежень, на котором сформована оболочка из рассыпающегося материала. Стержень выбивают из отверстия. Производство стержней сократилось не намного. Пат. Великобритании 2606069: стержень в виде пружины, легко выдернуть. Но затем через десяток заливок требуется перемотка пружины для восстановления формы. Края дырок получаются неровными. Как быть?
21. Сколько в мире муравьев? Для прогнозирвоания глобальных изменений в биосфере биологам понадоблось знать количество некоторых животных и насекомых, в частности, муравьев. Возможно ли в принципе решение подобной задачи? Ясно, что пересчитать всех муравьев невозможно. Может быть существует другой путь измерения их количества?
22. Как обезвредить ... телевизор? Все электробытовые приборы (утюг, электроплита, холодильник, чайник...) могут стать причиной пожара. Особенно подвержены этому телевизоры. В среднем 50-100 загораний на 1 миллион телевизоров (в Великобритании, например, этот показатель равен 82). Как полностью исключить это? Причем иногда ТВ может загореться и в отключенном состоянии (ТВ всегда подключен к электрической сети). Это может произойти в отсутствие человека. Т.е. надо, чтобы пожар... сам себя тушил! Ваше предложение?
23. Используйте ресурс – движение. По сравнению с путешествием в поезде поездка в метро намного скучнее – в окна видны только бесконечно струящиеся кабели, трубы, мрачные стены тоннеля. Можно ли сделать как-то повеселее? Что тут можно предложить? Включите свою фантазию. Не думайте о стоимости. Решение должно быть простое, внедряемое. Как вы считаете?
24. Заповеднику требуется скорая помощь. Борьба с промышленными выбросами – благородное дело. Но они есть, это факт, который невозможно игнорировать. Также невозможно закрыть все заводы, загрязняющие атмосферу и окружающую природу. Как быть, например, с лесным заповедником, которому угрожают выбросы соседнего завода? Известно, что если деревья подкармливать микроэлементами, то они хорошо справляются с отравлением. Так и делали – поливали раствором или разбрызгивали с самолета. Но выяснилось, что микроэлементы действуют только при определенной концентрации – в строгом соответствии с количеством загрязнений попавших на дерево. Но сколько принесет ветер загрязнений неизвестно. А поливать какой-то "средней" дозой неэффективно. Как быть?

25. Против алмазных воров. Требуется абсолютно надежный способ маркировки ювелирных алмазов. Надо, чтобы возможные похитители не видели никакой метки, а при экспертизе метка появлялась. Ваше предложение? Сильнейшее ФП: видно – не видно...
26. Тушение горящих жидкостей (например, нефтепродуктов в резервуарах) пеной – неэффективный и длительный процесс. Кроме того, жидкость загрязняется продуктами распада пены. Наиболее эффективный способ тушения – вытеснение кислорода из зоны горения с помощью углекислого газа. По а.с. СССР 494164 над жидкостью. распыляют аэрозоль из жидкого CO2. Предусматривалось, что такое распыление обеспечит протекание двух процессов: - превращение жидкости в газ отбирает много тепла, - углекислый газ тяжелее воздуха, поэтому он накроет горящую жидкость газовым слоем, в котором кислорода не будет. Однако на практике получилось так: CO2.не долетев до жидкости мгновенно превращался в газ, бушующее пламя не давало ему опуститься на жидкость, пламя прорывало слой, все перемешивалось. Требовалось время и значителный расход CO2. Как повысить эффективность этого процесса? Ясно, что надо обеспечить попадание CO2.сразу на поверхность жидкости. Но как это сделать?
27. Чтобы чеснок не слеживался. Для длительного хранения чеснок очищают, замораживают, измельчают в порошок, сушат. Затем его герметично упаковывают в двухслойные коробки из тефлона и бумаги, тефлон сваривают. Но даже при небольшой продолжительности хранения он слеживается, образуются комки. Как быть? Необходимо обеспечить условия, при которых частички чеснока не соединялись бы друг с другом. Как это обеспечить?
28. Быстрая сортироввка алмазов. На алмазодобывающем предприятии сортировка кристаллов производилась на шесть групп: брак, технические алмазы, три группы ювелирных. Кристаллы различались прозрачностью, формой и размерами (весом). Самые крупные, самые прозрачные и по форме близкие к сферической составляли высшую группу алмазов для ювелирной отделки. Сортировку производили операторы. Каждый кристалл устанавливался на подставку и подавался в зону действия измерителя прозрачности. Через кристалл пропускался луч света и с фотоприемника показатель прозрачности попадал в компьютер. Каждому положению кристалла соответствуют свои показатели преломления, отражения, т.е. свой сигнал на фотоприемнике. Поэтому для усреднения сигнала кристалл поворачивали шесть раз (через каждые 600 по окружности), на это уходило 1-2 мин. Кроме того, кристалл взвешивался, и значение веса также вводилось в компьютер для корректировки окончательного решения. Опытный оператор часть кристаллов сортировал "на глаз" без измерения. Но вот потребовалось увеличить скорость сортировки в 10-15 раз и было решено полностью автоматизировать этот процесс. Как это сделать? Здесь почти все готово к переходу на автоматический процесс сортировки. Не решены следующие вопросы: - как ускорить в 10-15 раз замер прозрачности, - как одновременно с этим определять форму кристалла, - как взвешивать кристалл не взвешивая его, т.е. не тратя на это время. Что вы думаете?
29. Как добыть красное дерево? Чаеразвесочная фабрика получает в год сотни тысяч ящиков из отличной фанеры. Индийский чай, например, поставляют из уникальной фанеры, разных сортов красного дерева и других ценных пород. Эту фанеру можно было бы вторично использовать с большой выгодой. Но как разобрать ящик, не повредив фанеру? Прочность соединения листа фанеры с бруском каркаса ящика выше прочности самой фанеры. Никакие механические хитрости не помогли. Любой механизм не мог сохранить целостность листа отдираемой фанеры, если прочность соединительного шва выше прочности листа. Это тупиковый путь решения. А вы что думаете?
30. Испытание пьезокристаллов. Для испытания образцов пьезоэлектрических материалов необходимо поместить образец в вакуумную камеру, а затем создать в ней резкий скачок давления. Скачок давления создают с помощью ударной газовой волны, которая вырывается из соседней газовой камеры при открывании затвора.

1) Как открыть заслонку очень быстро? Предложено использовать силы магнитной индукции, возникающие между двумя параллельными проводниками с током. Чем больше ток, тем больше сила, тем быстрее открывается заслонка. Максимум, что удалось достичь – 350 мкс (3,5•10-4 с). 2) То же, но разрушение заслонки плазменной струей. Струю получают подавая сильный ток на проволоку натянутую около заслонки – она взрывается. Заслонка – фольга или полимер толщиной 0,05 мм. Максимум, что удалось достичь – 10 мкс (1•10-5 с). Кроме того, в вакуумной камере надо создавать различные давления для разных образцов, разные скорости нарастания давления, ударная волна должна приходить с разных сторон.
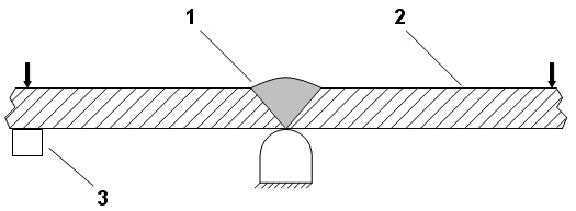
31. Способ контроля качества сварных соединений.
Известный способ контроля заключается в создании напряженно-деформированного состояния соединения 1 путем многократного изгиба образца 2 в месте расположения сварного шва, приема и анализа сигналов акустической эмиссии приемником 3.
Недостатки: - нагружение всего сварного соединения приводит к излучению акустической эмиссии всеми дефектами одновременно, т.е. невозможно определить место дефекта, - изделие портится, поэтому можно вести только выборочное исследование качества шва. Как быть?
32. Способ определения вязкости. В цилиндр наливают испытуемую жидкость. Сверху бросают шарик определенного веса. Вес и размер шарика подбирают такой, чтобы он не тонул. Цилиндр ставят на вибратор и включают его. Шарик начинает опускаться вниз. По вертикальной линейке и времени опускания определяют скорость и по ней судят о вязкости жидкости. Недостаток: шарик перемещается по произвольной траектории, длина его пути может быть разной, а значит точность невысока. Предложили: стальной полый шарик (внутрення полость которого может быть заполнена веществом с нужной плотностью) с отверстием надет на струну. Снаружи цилиндра располагается кольцевой постоянный магнит, который образует связанную систему с шариком и опускается вместе с ним. Недостаток: невысокая точность измерения из-за малой высоты цилиндра, а увеличивать высоту нельзя, т.к. вязкость зависит от высоты столба жидкости. ТП: для увеличения точности надо увеличить высоту столба и увеличивать нельзя, т.к. при этом изменится показатель вязкости жидкости. Как быть?
33. Взятие микропробы материала. Взятие микропроб материала с миниатюрных объектов, уникальных или дорогих изделий, а также, когда образец желательно сохранить для дальнейших исследований производится следующим способом. Участок материала накрывают подложкой - прозрачной для луча лазера пленкой (например, лавсановой), чистота которой гарантируется. Включают импульсы лазера. Происходит напыление материала на нижнюю сторону подложки.
Недостатки: - прозрачность быстро уменьшается при напылении и поэтому может быть испорчена проба лучом лазера, - на один и тот же участок напыляются и парообразные мельчайшие частицы, и жидкие капли более крупного размера, затем их надо разделять при анализе.
Как быть?
Записаться на тренинг ТРИЗ по развитию творческого, сильного мышления от Мастера ТРИЗ Ю.Саламатова >>>
|
|
Новости RSS |
Статьи RSS |
|
Главная » Инновационное образование » Тренинг молодого инноватора » Тренинг молодого инноватора (профессионал)
|
|