 |
Как стать изобретателем. Выпуск 36.
 |
Разработкой технологии по преобразованию механической энергии в электрическую занялись в Массачусетском технологическом институте (США). С помощью такого метода появится возможность заряжать переносные устройства. Об этом говорится в пресс-релизе, опубликованном на сайте института.Как работает?
… Подробнее >>>
|
Как стать изобретателем. Выпуск 35.
 |
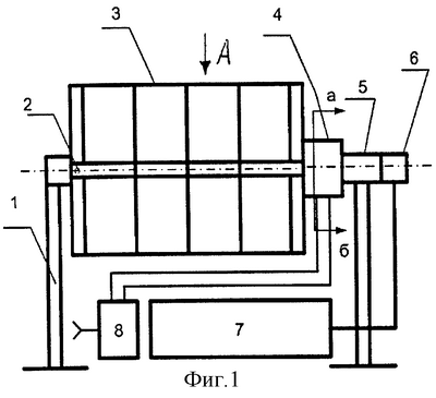
Вот что предложил автор Патента РФ 2290350 "Стрелковое оружие для вертолета"
Стрелковое оружие для вертолета состоит из следующих устройств и элементов (см. рисунки): вертолета 1,
… Подробнее >>>
|
Как стать изобретателем. Выпуск 34.
 |
Основной недостаток современных вертолетов в том, что они не могут поразить цель, находящуюся вверху прямо над ним, т.е. не могут обстреливать "мертвую зону", возникающую во время вращения несущего винта.
… Подробнее >>>
|
Как стать изобретателем. Выпуск 33.
|
Всегда решение надо начинать с формулирования ИКР (идеального конечного результата).
… Подробнее >>>
|
Как стать изобретателем. Выпуск 32.
|
СПо пат. РФ 2280766 предложено добавлять в подаваемую воду
… Подробнее >>>
|
Как стать изобретателем. Выпуск 31.
|
Среди инструментов ТРИЗ есть подкласс стандартов на разрушение вредных веполей и самый первый стандарт звучит так:
… Подробнее >>>
|
Как стать изобретателем. Выпуск 30.
|
Вы уже, наверное, поняли, что раненного надо помещать в плотно прилегающую к телу оболочку. И эта оболочка должна быть твердой, как панцирь. Но возможно ли это?!
… Подробнее >>>
|
Как стать изобретателем. Выпуск 29.
|
Да, при наливании воды в бутыль (канистру) из бутыли выходит воздух, вода вытесняет воздух. То же и с пылящими материалами: их насыпают и они при этом вытесняют воздух. Чем быстрее насыпают, тем быстрее выходит воздух.
… Подробнее >>>
|
Как стать изобретателем. Выпуск 28.
|
Как же так, скажете вы, ничего не добавлять, а при этом смесь станет совсем жидкой. Давайте думать.
Естественно, волшебства никакого нет.
… Подробнее >>>
|
Как стать изобретателем. Выпуск 27.
|
Но ведь корунд всего лишь оксид алюминия. А температура плавления алюминия всего лишь 660,3°C. И превратить алюминий в его окисел весьма несложно.
… Подробнее >>>
|
Записаться на тренинг ТРИЗ по развитию творческого, сильного мышления от Мастера ТРИЗ Ю.Саламатова >>>
Главная » Это интересно » Теория решений изобретательских задач (ТРИЗ)
|
|